啤酒厂污水处理:
近年来啤酒工业在我国发展迅速,啤酒行业是生物食品工业中耗水量比较大的一个行业。啤酒的生产也伴随着大量污水的排出,给环境造成了很大的威胁。啤酒污水主要含有大量的有机物,属于高浓度有机废水,如果直接排放,降低了原料的利用率而且会对环境造成很大的压力。本论文主要采用厌氧-好氧处理工艺来处理啤酒工厂的废水,使其达到排放标准。整个工艺具有投资少,处理效果好,工艺简单,占地面积省,运行稳定,能耗少的的优点。
啤酒厂污水分类:
①原料麦的清洗,麦芽培养及旧瓶洗刷废水;
②酿造过程排出的废水。原料麦的清洗,麦芽培养及旧瓶洗刷废水是主要废水来源,每利用1吨大麦约排出0.86m3废水,水中含有洗麦剂,pH10-13,呈强碱性。第二种废水是在麦芽等的压榨和分离过程排出的清洗废水,水中BOD达130000mg/L,pH3-4,呈酸性。
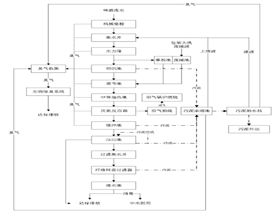
啤酒厂污水处理工艺:
(1)过滤沉淀处理:啤酒废水经机械格栅过滤出大颗粒漂浮物后进入集水井,由一级提升泵提升至水力筛过滤出细小悬浮物后进入初沉池,通过沉淀后悬浮物去除60%以上;
(2)搅拌中和处理:初沉池的出水流入调节池,所述调节池设置有用于均化水质水量的机械搅拌系统,经调节池搅拌均匀的废水进入中和加热池调控温度和pH, 调节废水温度至30-36℃,pH为7.0-7.6;
(3)厌氧生物处理:将步骤(2)处理后的废水用二级提升泵提升至厌氧反应器,厌氧反应器的底部设置有布水装置,厌氧反应器的中上部设置有三相分离器,废水通过布水装置充分混合,经三相分离器分离后进入缓冲池沉淀处理;
(4)好氧生物处理:将步骤(3)处理后的废水进入CASS池进行好氧生物处理;
(5)过滤处理:CASS池中的混合液流入过滤集水井并通过过滤提升泵提升至纤维转盘过滤器进行过滤,过滤后的水经检测合格后进入清水池;
(6)污泥处理:初沉池、缓冲池、CASS池和纤维转盘过滤器中的污泥进入污泥浓缩池,浓缩后经污泥脱水机脱水后外运,滤液和浓缩池上清液进入集水井;
(7)臭气处理:机械格栅、集水井、水力筛、初沉池、调节池、中和加热池、厌氧反应器、缓冲池、污泥浓缩池和污泥脱水机产生的臭气经封闭收集后进入生物除臭系统进行除臭,除臭后的废气达标后进行排放。
注:根据污水,臭气的处理量和排放标准不同,选择的工艺也不同,详情可咨询:15966164777



全国销售热线




